温馨提示:点击下方图片,查看公众号“Robot猎场备忘录”运营团队(10月18日整理)原创报告(共182页)

正文:
人形机器人三大核心模块:决策模块、感知模块和运控模块。
从底层算法模型来看,机器人的软件可以分为大脑与小脑;大脑负责感知外界并模拟人类思维决策过程,小脑则模仿生物进行复杂的运动控制;目前来讲,大脑算法中的环境理解,基于机器视觉,发展相对成熟;规划决策算法是具身智能主要发展痛点,将伴随大模型的迭代而发展。
运控模块(运控算法)从最初基于模型的控制算法(LIPM+ZMP),到动态模型控制和最优控制算法(MPC+WBC),到目前的模拟学习+强化学习(IL+RL),目前处于技术瓶颈阶段,难以短期突破,这也是诸多人形机器人本体公司推出轮式仿生机器人而不是双足人形机器人原因;运控算法可称为目前双足人形机器人公司核心技术壁垒。
双足 or 轮式移动方式已成为人形机器人领域主要构型之争;现阶段,移动方式已成为判定是否为人形机器人核心点,轮式机器人被称作轮式仿生机器人或具身智能机器人而非人形机器人。
容易令人忽略的人形机器人另外一类构型之争则是抓取方式:灵巧手 or 夹爪(本篇重点讲述)。
灵巧手作为人形机器人末端执行与感知的工具,其性能的优劣在很大程度上决定了整个机器人的工作性能。
目前大多的多指灵巧手外观多为仿生设计(五指灵巧手),也有人形机器人企业根据场景不同采用二指夹爪、三指手等其他样式(如星尘智能旗下轮式机器人S1采用二指夹爪、银河通用旗下轮式机器人G1采用右夹爪和左吸盘组合、 UniX AI旗下轮式机器人Wanda 采用三指夹爪);目前不少人形机器人本体厂商选择自研灵巧手(如:特斯拉、智元机器人、Figure AI、星动纪元等),并涌现出一些以灵巧手作为卖点的人形机器人本体厂家(如:戴盟机器人、帕西尼感知等);除了传统灵巧手企业外,目前也涌现出一批灵巧手初创企业。
作为人形机器人上游供应链,灵巧手领域公司已获得头部资本关注,目前迎来一轮融资潮;10月11日,多模态触觉感知传感器初创公司【千觉机器人】完成数千万元人民币天使轮融资,由高瓴创投领投;10月29日,灵巧手研发生产商【知行机器人科】完成数千万元B轮融资。
值的注意的是,美国科技巨头【Meta】旗下基础人工智能研究 (FAIR)近日公布公司触摸感应领域的三大进展:通用触摸编码器;具有多模态感应功能的人造指尖,用于触觉交互;集成触觉感应的机械手平台;它们协同工作,使机器人能够感知事物。

详细细节:
-
触摸感应技术Sparsh:为AI提供了一种无需庞大数据库即可识别压力、纹理和运动等内容的方法;
-
机器人指尖Digit 360 :将有关机器人正在触摸的内容的信息发送到AI模型,Digit 360 中的传感器非常敏感,因此AI不仅可以确定机器人所接触物体的细节,还可以施加适合涉及物体的任务的压力,例如提升或旋转物体;
-
Plexus 的系统:协同多个触摸传感器,Plexus可以模仿人类的触觉,足以处理易碎或笨拙的物体;
国内人形机器人初创企业【戴盟机器人】创始人王煜教授曾表示:“灵巧手”才是人形机器人的核心价值。
特斯拉是五指灵巧手忠实拥护者,人形机器人Optimus手部为重点升级模块,每次迭代都会涉及手部,提高其灵巧性、抓取能力和稳健性;下一代具备22个自由度(DOF)的灵巧手已在10月份特斯拉以“We,Robot”为主题发布会上亮相;新一代灵巧手将致动器像人类一样移动到前臂,它使用手指的方式是通过电缆连接,就跟人类的手一样。

近日,刷屏网络的【波士顿动力】旗下机器人Atlas采用的则是三指夹爪方式。

目前人形机器人本体公司自研灵巧手中拥有最高自由度的是波兰知名仿生克隆人形机器人企业Clone Robotics,旗下灵巧手Clone Hand拥有27个自由度(DOF),能执行复杂和精细任务,值的注意的是其动力源自更简洁的液压系统。(10月,公司产品取得重大进展,旗下人形机器人Torso(仅上半身)终于亮相)。

8月12日,小鹏汽车董事长兼 CEO 何小鹏在微博发布视频,展示了公司最新五指灵巧手;

图片来源:知识星球“机器人头条”,仅展示部分,完整、高清无水印版加入星球查看
灵巧手专利(仅展示部分):
特斯拉“Optimus”灵巧手

Sanctuary AI旗下“Phoenix”灵巧手
图片来源:US 2023/0234242 A1
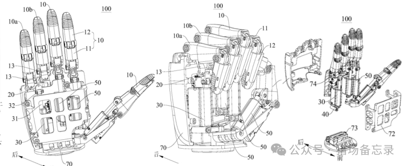
智元机器人-灵巧手(新型专利):

图片来源:CN 220826015 U

图片来源:CN 117359667 A
... ... ...
本文内容仅展示一部分,灵巧手企业及产品参数完整版整理表格、人形机器人企业灵巧手完整版专利,扫码加入星球,查看完整版文章:人形机器人本体厂家自研灵巧手、主流灵巧手产品合集,并深度了解“具身智能&人形机器人”赛道
注:深度了解“具身智能&人形机器人”赛道,加入知识星球“机器人头条”交流学习
近期精选文章:
3、核心创始团队离开,「小米」、「小鹏」能否扛起国内人形机器人大旗
8、ToB、ToC or ToG,全球人形机器人产品优选落地场景梳理!
9、机器人大模型初创公司!成立8个月,估值约150亿!OpenAI、红杉抢投
10、马斯克:特斯拉是唯一一家真正具备大规模生产人形机器人能力的公司
11、近40款人形机器人亮相:谈商业化,为时尚早!谈量产,纯粹“噱头”!!
内容中包含的图片若涉及版权问题,请及时与我们联系删除


评论
沙发等你来抢